雙板雙工位液壓換網器用于化纖、吹膜、平膜、流延膜生產,管材、板材、線材、纖維的制造,切粒線,回收等。
1、本系列換網器為雙通道雙濾網結構,換網時一網工作,一網更換。
2、設計有引料排氣結構,換網不中斷料流,達到不停機換網。
3、適合所有的聚合物的擠出生產要求。
4、換網過程不間斷生產,對擠出機生產不會造成明顯的波動。
5、可承受25-30Mpa的熔體壓力,不影響其使用性能。

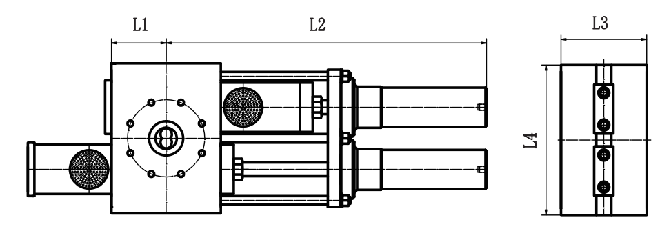
| 產品規格型號 | 相關產量output | 輪廓尺寸(mm)size | 濾網尺寸screen size | 加熱器Hcating tube | ||||||
| type | kg/h | L1 | L2 | L3 | L4 | 直徑(mm) | 面積(cm²) | 電壓(v) | 加熱功率(kw) | |
| ZB-DSP-80 | 110~300 | 104 | 765 | 235 | 385 | Ф80 | 50x2 | 220/380 | 5.6 | |
| ZB-DSP-100 | 180~500 | 115 | 805 | 255 | 430 | Ф100 | 78x2 | 220/380 | 6.2 | |
| ZB-DSP-130 | 350~800 | 145 | 915 | 260 | 490 | Ф130 | 132x2 | 220/380 | 7.4 | |
| ZB-DSP-160 | 450~1200 | 175 | 1050 | 310 | 575 | Ф160 | 200x2 | 220/380 | 9.4 | |
| ZB-DSP-180 | 500~1500 | 190 | 1130 | 315 | 630 | Ф180 | 254x2 | 220/380 | 16.8 | |
| ZB-DSP-210 | 800~2500 | 215 | 1195 | 340 | 700 | Ф210 | 346x2 | 220/380 | 23.2 | |
| ZB-DSP-250 | 1400~3700 | 225 | 1290 | 360 | 780 | Ф250 | 490x2 | 220/380 | 30.2 | |
橡膠熔體齒輪泵在橡膠加工中扮演著核心角色,其作用可歸納為以下方
扇形旋轉式換網器核心功能扇形旋轉式換網器專為聚合物加工(尤其是
反應釜熔體出料泵特別適用于要求有較高輸出壓力的高溫、高粘聚合
擠出機計量泵在擠出成型過程中發揮著至關重要的作用,其主要作用及
「CHINAPLAS 國際橡塑展」伴隨著中國塑料及橡膠行業成長三十多年
第三十六屆中國國際塑料橡膠工業展覽會,CHINAPLAS 2024 國際橡塑
第三十五屆中國國際塑料橡膠工業展覽會,CHINAPLAS 2023 國際橡塑
「CHINAPLAS 國際橡塑展」伴隨著中國塑料及橡膠行業成長逾30年,至